热门关键词:干燥设备混合设备灭菌设备粉碎设备过筛设备
FG系列负压卧式沸腾干燥床
RXH、CT-C 型系列热风循环烘箱
MZG系列脉冲真空干燥机
FZG、YZG系列低温真空干燥烘箱
联系人:吴先生 邮 箱:njhxyj_63@163.com 电 话:025-85704742 地 址:南京市栖霞区龙潭街道太平工业园区
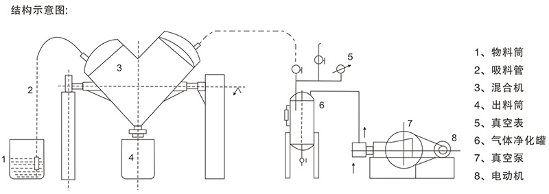
用途: 本机用于制药及其它行业的粉状或粒状物料混合之用。特点: 本系列混合机有强制混合型和普通混合型两种,强制型混合机主要对较细的粉粒或对某一主料含量较少的物料均能混合均匀;普通型混合机主要适用于一般物料或产量较大的企业使用。筒体光滑无死角、整机采用不锈钢材料制作、且外型美观等特点。
技术参数:
服务热线